DCAudioDIY.com

DC Area Audio DIYer's Community
It is currently January 16th, 2026, 7:26 am

All times are UTC - 5 hours [ DST ]




Post new topic Reply to topic  [ 31 posts ]  Go to page 1, 2, 3, 4  Next
Author Message
 Post subject: Re: Hi
PostPosted: July 29th, 2013, 3:21 pm 
Offline

Joined: July 27th, 2013, 7:30 pm
Posts: 27
Location: Germantown, MD
Thanks everyone. I love my open reel also. I have a dead Dynaco ST-70 that I want to get working again & upgraded. I look forward to learning more & possibly meets.

Craig


Top
 Profile  
 
 Post subject: Re: Hi
PostPosted: July 29th, 2013, 3:34 pm 
Offline

Joined: March 1st, 2013, 11:12 am
Posts: 42
Hi Craig,

Should be pretty easy to get the Dynaco up and running again if the trannies are good. Or, you could use the iron and make an amp that is a whole heck of a lot better......... but then you are starting down a slippery slope. I've been rebuilding amps for more than 15 years - there is always something that might make it just a little bit better. :lol:

It's fun.

Charlie


Top
 Profile  
 
 Post subject: Re: Hi
PostPosted: July 29th, 2013, 5:51 pm 
Offline

Joined: July 27th, 2013, 7:30 pm
Posts: 27
Location: Germantown, MD
I'm not sure what died on it. I remember it was working & it just died. No power. Tubes just went dark. I guessed it was the transformers. What do I know? I don't know where to start. It hasn't been plugged in in about 7 years. I want to upgrade it & go down that slippery slope! LOL

Craig


Top
 Profile  
 
 Post subject: Re: Hi
PostPosted: July 31st, 2013, 10:56 am 
Offline

Joined: March 5th, 2013, 9:35 am
Posts: 271
Location: Highland, MD
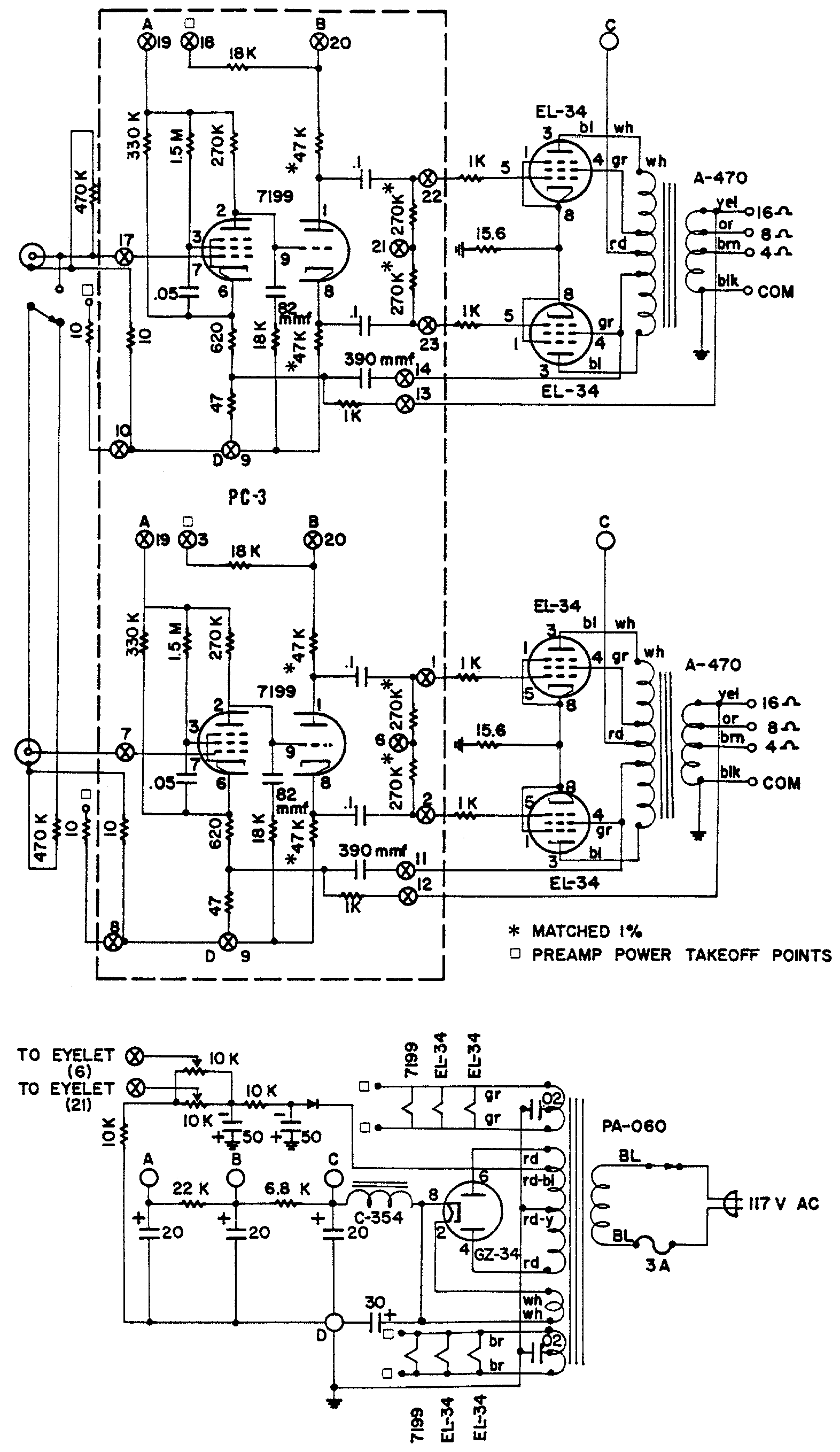
Hmm, if all the tubes went dark, did you check the fuse? I think there is a 3-Amp fuse in the primary of the power transformer. There is schematic attached to this post. If the fuse is good, the tube heaters should light up unless the power-transformer primary and/or both heater secondaries burned out. If you have a multimeter you can carefully check the primary AC voltage and heater AC voltages.

Attachment:
File comment: Dynaco ST-70 Schematic
st70_schematic.gif
st70_schematic.gif [ 90.6 KiB | Viewed 47425 times ]

_________________
- Guy


Top
 Profile  
 
 Post subject: Re: Hi
PostPosted: July 31st, 2013, 11:05 am 
Offline

Joined: March 12th, 2013, 11:12 am
Posts: 742
I believe the power transformers do have a fairly high failure rate. It is the output transformers that you really want anyway. You can get a replacement PT here:


http://triodeelectronics.com/mq060.html


But definitely check the fuse first!


Top
 Profile  
 
 Post subject: Re: Hi
PostPosted: July 31st, 2013, 11:24 am 
Offline
Site Admin
User avatar

Joined: February 28th, 2013, 10:38 am
Posts: 1732
Yeah, and everything inside the dotted line needs to go :o

This should probably be moved to the projects section at this point though....

Roscoe

_________________
I can explain it to you, but I can’t understand it for you.


Top
 Profile  
 
 Post subject: Re: Hi
PostPosted: July 31st, 2013, 11:42 am 
Offline

Joined: March 5th, 2013, 9:35 am
Posts: 271
Location: Highland, MD
Okay, so if you unplug the amp from the wall and measure resistance between the two prongs of the wall plug, you should see low resistance (< 100 Ohms?) If not, then the fuse is bad, a wire is broken, or Roscoe is right and the primary is open so the power transformer should be replaced.

There is a section on troubleshooting in the kit manual, and it shows pictures under the chassis. Take a look and maybe the fix is easy! It's usually good to have the unit working before modifying it so you can assume any problems are caused by the new modifications.

Go to <http://www.dynaco-doctor.com/st7_mnl.pdf> to download the manual (look around this site, too, for information.) The troubleshooting section starts on page 9 (Page 13 of the PDF.) www.dynaco-doctor.com Also has a repair guide from Curcio - take a look!

If your amp is stock, there is also a selenium rectifier in the bias-voltage circuit. This should be replaced with a solid-state diode like the 1N4007. Selenium is nasty.

_________________
- Guy


Top
 Profile  
 
 Post subject: My dead Dynaco ST-70
PostPosted: July 31st, 2013, 11:53 am 
Offline

Joined: July 27th, 2013, 7:30 pm
Posts: 27
Location: Germantown, MD
Ok, I'll move it! LOL
I'll check the fuse when I get a chance to move it from it's hiding spot. I vaguely remember checking it all those years ago but doesn't hurt to check it again. With trouble shooting, I don't know how or where to start. That's why I'm here. I need it pointed out to me.

Craig


Top
 Profile  
 
 Post subject: Re: My dead Dynaco ST-70
PostPosted: July 31st, 2013, 11:59 am 
Offline

Joined: March 5th, 2013, 9:35 am
Posts: 271
Location: Highland, MD
Sorry, craigh, I didn't know you'd moved the thread. See, we're all still learning.

Okay, so if you unplug the amp from the wall and use a multimetere to measure resistance between the two prongs of the wall plug, you should see low resistance (< 100 Ohms?) If not, then the fuse is bad, a wire is broken, or TubeDriver is right and the primary is open so the power transformer should be replaced.

There is a section on troubleshooting in the kit manual, and it shows pictures under the chassis. Take a look and maybe the fix is easy! It's usually good to have the unit working before modifying it so you can assume any problems are caused by the new modifications.

Go to <http://www.dynaco-doctor.com/st7_mnl.pdf> to download the manual (look around this site, too, for information.) The troubleshooting section starts on page 9 (Page 13 of the PDF.) www.dynaco-doctor.com Also has a repair guide from Curcio - take a look!

If your amp is stock, there is also a selenium rectifier in the bias-voltage circuit. This should be replaced with a solid-state diode like the 1N4007. Selenium is nasty.

Maybe after you unhide the amp, we can arrange a place to get together and test a couple things if you don't have a multimeter and such. I'm in Howard County, MD (pronounced How-Weird) so that may be close to you?

_________________
- Guy


Top
 Profile  
 
 Post subject: Re: My dead Dynaco ST-70
PostPosted: July 31st, 2013, 7:57 pm 
Offline

Joined: March 2nd, 2013, 2:43 pm
Posts: 230
Location: Potomac, MD
Craigh and others,

A good cheap tool useful for testing amps where a power problem may exist is to make up a fixture that has a light bulb such that the amp can be powered up with the light bulb in series with the power. A lamp with one of the power conductors is cut and a male AC connector bridges the two ends of the cut wire serves as the socket to plug the amp under test into. This is also useful for reforming capacitors in amps that have not been powered up in a long time. IF the lamp comes on very bright there is a short in the amp's power supply or transformer. If the lamp dims shortly after turning on, this usually indicates that things are OK to remove the lamp and plug the amp directly into the wall outlet. Do NOT do this with switching power supplies. Typically I use a 100-watt lamp.

Also, Craigh, I could help you trouble shoot if you get stuck as I live nearby.

David


Top
 Profile  
 
Display posts from previous:  Sort by  
Post new topic Reply to topic  [ 31 posts ]  Go to page 1, 2, 3, 4  Next

All times are UTC - 5 hours [ DST ]


Who is online

Users browsing this forum: No registered users and 35 guests


You cannot post new topics in this forum
You cannot reply to topics in this forum
You cannot edit your posts in this forum
You cannot delete your posts in this forum
You cannot post attachments in this forum

Search for:
Jump to:  
Powered by phpBB® Forum Software © phpBB Group